Offipalsta.COM  

Palaa takaisin   Offipalsta.COM > Off-Road > Tekniikka & Jutustelu
Rekisteröidy Offiblogit Yhteisö Kalenteri Viestit tänään Haku

Tekniikka & Jutustelu Yleistä keskustelua maastureihin ja/tai off-roadiin liittyen

Vastaus
 
Työkalut Etsi tästä viestiketjusta Näkymä
  #1  
Vanha 18.11.2015, 16:41
cossieboy cossieboy ei ole kirjautuneena
Jäsen
 
Rekisteröitynyt: 13.01.09
Sijainti: Vantaa
Viestit: 31
Perusasetus

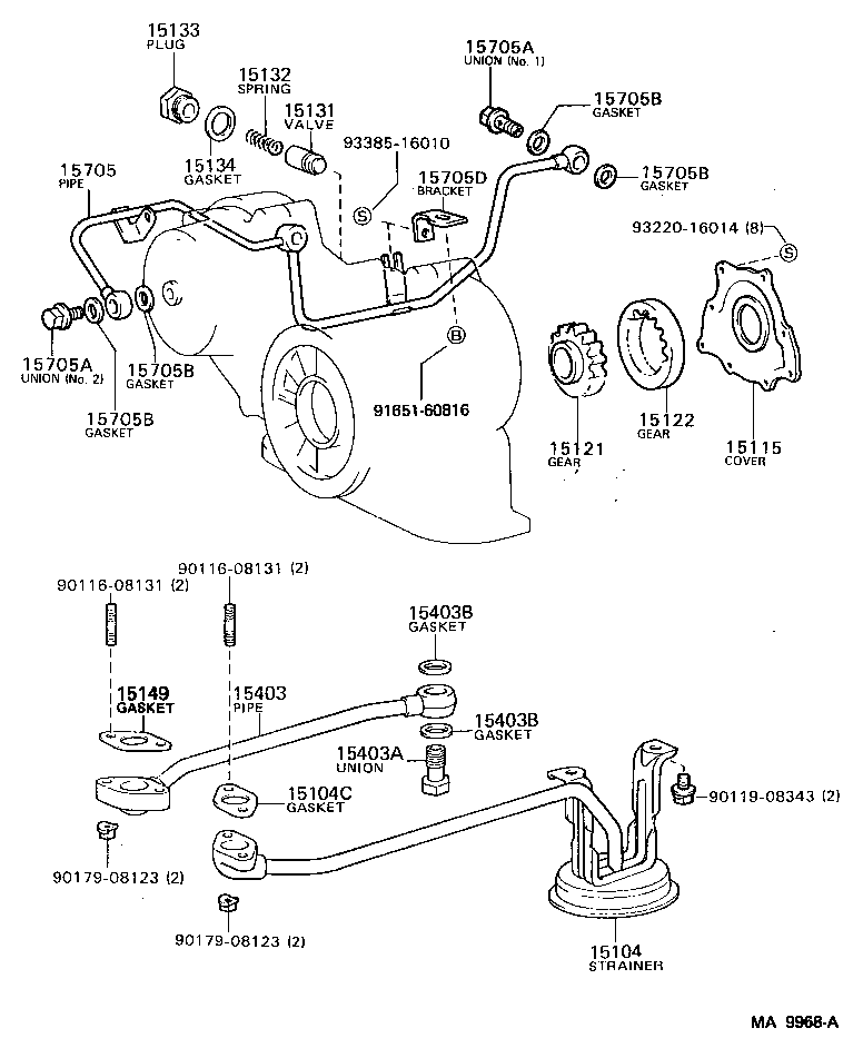
Hj Öljypumpun jousi, auta tyhmää.


Eli missä ihmeessä se öljypumpunjousi&venttiili mahtaa piileskellä HJ:61:ssä ??

On se ku tää tyhmä ei tajua vitun räjäytys kuvaakaan... vai onko se jossain syöttöpumpun alla/takana piilossa...

Vai sijaitseeko jopa öpohjan sisällä ???

Ku mä saanu jonkunlaisen käsityksen et se olis vaihdettavissa ulkoa päin... tosin saatan olla väärässä.

Kuva kertois enemmän kuin tuhat sanaa

Liitetiedostot
Click image for larger version

Name:	MA9968A.png‎
Views:	304
Size:	13,7 Kt
ID:	65434  
__________________
eikö mikään ole tarpeeks
Vastaa lainaten
  #2  
Vanha 18.11.2015, 16:56
kenppi kenppi ei ole kirjautuneena
Konkari
 
Rekisteröitynyt: 18.08.13
Sijainti: Kajaani
Viestit: 503
Perusasetus

Kuvassa vasemmalla ylhäällä on jousi(15132) ja venttiili(15131).
Tarkoitatko noita? Näyttäisi ainakin kuvan mukaan että saa ulkoa vaihdettua avaamalla sen tulpan edestä. Sitä en tiedä missä päin moottoria tulppa sijaitsee.
Vastaa lainaten
  #3  
Vanha 18.11.2015, 17:08
Profi:n Avatar
Profi Profi ei ole kirjautuneena
Aktiivijäsen++
 
Rekisteröitynyt: 14.08.05
Sijainti: Veteli, Finland.
Viestit: 391
Perusasetus

Se on vänkärin puolella ohjaustehostimen pumpun takana lohkon alaosassa.

Tuosta videosta näkee

https://www.youtube.com/watch?v=I_2Z8PVRYLs
__________________
Dodge ram 5.9 (-95 käyttis)
Hj 61 (-89 2. auto)

Viimeksi muokannut Profi : 18.11.2015 17:10
Vastaa lainaten
  #4  
Vanha 19.11.2015, 08:44
cossieboy cossieboy ei ole kirjautuneena
Jäsen
 
Rekisteröitynyt: 13.01.09
Sijainti: Vantaa
Viestit: 31
Perusasetus

joo tajusin kyllä mikä se o kuvista , sijainti vaan oli hukassa. KIITOS
__________________
eikö mikään ole tarpeeks
Vastaa lainaten
Vastaus


Käyttäjiä lukemassa tätä viestiketjua: 1 (0 jäsentä and 1 vierasta)
 

Pikalinkit

Samanlaisia viestiketjuja
Viestiketju Aloittaja Foorumi Vastauksia Viimeisin viesti
hj:in kierre jousi alusta hojo85 Tekniikka & Jutustelu 44 18.01.2014 14:50
Myydään hilux,hj 61 hj 60 jousipakkoja jousi lehtiä noin 200kg toyota4x4 O/M/V Varaosat ja tarvikkeet 0 31.07.2012 21:14
Auttakaa tyhmää hilun kans Raikku77 Tekniikka & Jutustelu 12 19.02.2012 08:38
HJ 60 jousi asiaa oskari4x4 Tekniikka & Jutustelu 1 11.06.2005 14:44
hj:n öljypumpun vaihto, MITEN Ahma Tekniikka & Jutustelu 6 06.01.2004 20:17


Sivu luotu: 18:30 (GMT +2).